厉害了,昌雅婷同学 | 门窗防蚊结构的设计获国家专利

门窗防蚊结构
6163银河昌雅婷
专利号:zL******0864430.6


设计思路
在蚊蝇肆虐的季节,蚊蝇等昆虫会严重影响人们的日常生活,甚至会给人们的身体健康带来隐患,尤其是对老人和小孩的影响更为突出。
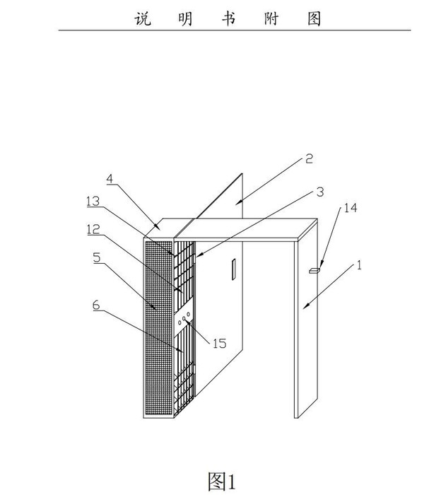
现代的居住房屋尽管安装了纱窗,一定程度上可以抵御蚊蝇等昆虫的侵袭,但是,总会有部分蚊蝇尾随人后,在开门(或开窗)瞬间溜进室内,给人们的生活带来困扰。
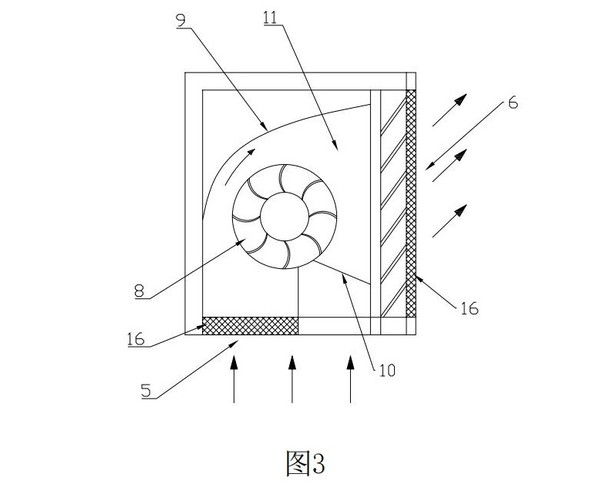
针对这种情况,已有人创作出了各种防蚊结构,基本原理是在门窗附近安装风机,在门窗开启瞬间,由风机制造风屏,阻挡蚊虫进入,但这些防蚊结构普遍使用鼓风机作为气源,而鼓风机存在噪音巨大的缺陷,本实用新型设计人曾按照上述公开专利记载的结构予以实施,发现噪音大到无法忍受。
针对上述现有技术的缺点,本实用新型的目的在于,提供一种门窗的防蚊结构,解决其噪音问题,使其真正适于使用。



